歡迎訪問北京中天恒遠環保設備有限公司官網!
咨詢熱線:010-8022-5898 手機:18610094262
-
江蘇省常州英田汽車有限公司新能源汽車技術改造項目污水處理系統 2018-01-23 [技術新聞] 熱度:224

招標人名稱:常州英田汽車有限公司 招標代理機構全稱:中國遠東國際招標公司 招標代理機構地址:北京市朝陽區和平街東土城路甲9號 招標代理機構聯系方式:64204344/64291720 招標項目名稱:常州英田汽車有限公司新能...
-
黑龍江哈爾濱市賓西經濟開發區污水治理工程 2018-01-23 [技術新聞] 熱度:246

項目名稱:哈爾濱市賓西經濟開發區污水治理工程 所在地區:黑龍江 投資總額:13023.40萬元 進展描述:環評階段 項目概況工程內容:污水廠擴建規模為1.0萬噸/日,擴建后總規模2.0萬噸/日,出水由原《城鎮污水處理廠污...
-
殼聚糖處理廢水 2018-01-23 [技術新聞] 熱度:343

在常規水處理系統中,使用最廣泛的絮凝劑是鋁鹽和鐵鹽,在已處理過的水中殘留的鋁鹽會危害人體健康,殘留的鐵鹽會影響水的色度等;在大多數廢水處理中,難以克服污泥產生量大、污泥難以處置等二次污染問題。因此,尋...
-
福建福州市祥坂污水處理廠提標改造工程(施工)招標公告 2018-01-23 [技術新聞] 熱度:309

1. 招標條件 福州市祥坂污水處理廠提標改造工程(施工)已由州市鼓樓區發展和改革局以鼓發改基〔2017〕42號文件批準建設,建設單位為福建海峽環保集團股份有限公司,建設資金來源企業自籌,本次招標內容為:福州市祥坂...
-
福建福州市祥板污水處理廠除臭工程答疑公告 2018-01-23 [技術新聞] 熱度:323

福州市祥坂污水處理有限公司委托我公司招標代理的答疑紀要如下,招標文件與本紀要不一致的以本紀要為準。 1、問:招標文件第35頁要求填料料的體積比表面積應不低于350M2/M3,因招標文件要求的填料比表面積為350M2/M3...
-
湖北省仙桃市衛計委醫療污水處理設備采購中標公示 2018-01-23 [技術新聞] 熱度:321

依據仙財采計[2016]B262號計劃函要求,仙桃市政府采購中心受仙桃市衛計委的委托,對其所需醫療污水處理設備進行競爭性磋商采購。現就本項目開標評標結果公告如下: 一、采購項目名稱(招標文件編號): 仙桃市衛計委醫...
-
線路板油墨廢水深度凈化方法 2018-01-23 [技術新聞] 熱度:230

在線路板生產中,網...
-
昌邑濱海(下營)經濟開發區污水處理廠正式通過環保竣工驗收 2018-01-23 [技術新聞] 熱度:494

近日,記者從昌邑市環保局獲悉,日前,聯合環境水務(昌邑)有限公司下營污水處理廠正式通過環境保護設施竣工驗收。 據了解,該污水處理廠位于昌邑濱海(下營)經濟開發區,總投資約1.2億余元,規模為日處理污水2萬噸。該污水...
-
洗車污水水質分析與處理工藝 2018-01-23 [技術新聞] 熱度:346

隨著我國人口的不斷增長、經濟的發展和資源的超量開發,對環境造成了很大的壓力:水資源嚴重缺乏,水污染日益加劇。 并隨著人民生活水平的提高,單位和家庭擁有的汽車數量也越來越多,這勢必帶來洗車水的大量消耗,...
-
洗車廢水處理及回用技術 2018-01-23 [技術新聞] 熱度:368

洗車廢水處理技術的現狀典型的洗車廢水處理主要有兩種情況:一是處理洗車廢水比較集中、水量較大的運輸車輛場的洗車廢水,含油量等污染物量較高,屬于表1中的第二類水質;另一種是處理分散在城市中的小型洗車行的洗車...
-
垃圾滲濾液的組成及水質特點 2018-01-23 [技術新聞] 熱度:245

垃圾滲濾液是垃圾處理過程產生的二次污染物,我國滲濾液的典型污染物組成見表1,可以看出,我國垃圾滲濾液主要有以下幾個特征: 表1(垃圾滲濾液處理技術的發展與展望) 1)滲濾液成分復雜。滲濾液中含有低分子量的脂肪...
-
廢水生物處理新技術 2018-01-23 [技術新聞] 熱度:235

一、廢水生物處理新技術: 廢水生物處理是用生物學的方法處理廢水的總稱,是現代廢水處理應用中最廣泛的方法之一,主要借助微生物的分解作用把廢水中有機物轉化為簡單的無機物,使廢水得到凈化。按對氧氣需求情況,...
-
切削液廢水處理 2018-01-23 [技術新聞] 熱度:310

切削液按油品化學組成分為水溶性(水基)液和非水溶性(油基)液兩大類。 一、水基切削液的廢液處理 水基切削液的廢液處理可分為物理處理、化學處理、生物處理、燃燒處理四大類。 切削液廢水處理:1)物理處理:其目的是...
-
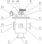
便于安裝的水處理設備 2018-01-23 [技術新聞] 熱度:274

本發明涉及一種便于安裝的水處理設備,包括進水機構、濾芯組件和出水機構,進水機構和出水機構通過濾芯組件連通;進水機構和出水機構均具有接頭組件,接頭組件包括轉接盤和轉接管,轉接管位于轉接盤內部,轉接管的中...
-
全程水處理設備 2018-01-23 [技術新聞] 熱度:229

本實用新型涉及一種全程水處理設備,它包括水處理罐體,所述的水處理罐體的下端設置有出水管道,所述的出水管道的下端設置有出水口,所述的水處理罐體上設置有水處理控制器,所述的水處理罐體的左端設置有水位標度尺...
- 首頁
- 上一頁
- 545
- 546
- 547
- 548
- 549
- 550
- 551
- 552
- 553
- 554
- 555
- 下一頁
- 末頁
- 共 656頁9831條
服務地區:北京;天津;上海;重慶;河北;河南;云南;遼寧;黑龍江;湖南;安徽;山東;江蘇;浙江;江西;湖北;廣西;甘肅;山西;陜西;吉林;福建;貴州;廣東;青海;四川;寧夏;海南
服務地區:哈爾濱;長春;沈陽;南京;濟南;合肥;石家莊;鄭州;武漢;長沙;南昌;西安;太原;成都;西寧;海口;廣州;貴陽;杭州;福州;臺北;蘭州;昆明;銀川;烏魯木齊;拉薩;南寧
補充分類:電廠;工業;游泳池;系統;工程;工程師;藥劑;過濾器;絮凝劑;公司;廠家;生產廠家;