歡迎訪問北京中天恒遠環保設備有限公司官網!
咨詢熱線:010-8022-5898 手機:18610094262
-
油田污水處理池 2018-01-24 [行業資訊] 熱度:307

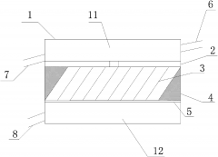
本發明提供了一種油田污水處理池,包括污水池,其特征在于,所述污水池連接污水入池管道,排油管道和排水管道;所述污水池還包括了超聲波換能器陣列架,沉降區域,斜管固定裝置以及隔離網。通過上述方式,本發明能夠...
-
清水縣“十二五”節能減排綜合性工作方案 2018-01-24 [行業資訊] 熱度:306

十二五時期是我縣全面建設小康社會的關鍵時期,工業化、城鎮化進程將進一步加快,能源需求剛性增長,資源環境約束突出,節能減排工作形勢嚴峻。為了切實提高資源利用效率,減少污染物排放,實現綠色發展、低碳發展和...
-
江蘇揚州市城市環境綜合整治行動實施方案 2018-01-24 [行業資訊] 熱度:316

為進一步改善城鄉環境面貌和人居環境質量,省政府決定從2013年起,利用三年左右的時間,在全省開展城市環境綜合整治行動。根據省政府的統一部署,結合我市實際,制定實施方案如下。 一、總體目標要求 (一)指導思想 ...
-
小型水產加工企業廢水處理工藝改造 2018-01-24 [行業資訊] 熱度:272

臺州地處浙江東部沿海,水產加工行業發達,小型水產加工企業眾多。水產食品加工廢水的懸浮物和動物油脂濃度高,氨氮及磷較高,水溫低,生化降解速率慢;污泥呈膠體狀,量大、難脫水,且容易腐爛變質散發出臭味,并造...
-
冷卻循環水處理工藝及其特點 2018-01-24 [行業資訊] 熱度:195

冷凍水是只通過制冷機使其溫度下降后再流向冷卻工藝的循環水,主要用于中央空調和工廠中需低溫冷卻的系統。就冷卻系統的構成而言,冷凍水分為密閉式和非密閉式,非密閉式又分為部分敞開式和噴淋式兩種類型。 冷凍水...
-
飲用水消毒過程研究 2018-01-24 [行業資訊] 熱度:187

氯消毒應用于飲用水消毒處理已有100多年的歷史,是目前飲用水廠最常見的消毒技術. 然而自從20世紀70年代Rook首先發現飲用水氯消毒后有副產物三鹵甲烷(THMs)生成,多種DBPs陸續被檢出,例如鹵乙酸、 鹵乙腈、 鹵代醛...
-
高效的污水取樣裝置 2018-01-24 [行業資訊] 熱度:277

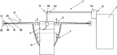
本發明涉及一種污水取樣裝置,包括取樣器以及瞄準裝置;所述取樣器包括上機械室以及下集液室;上機械室沿其內壁四周均勻設置有若干個伸縮驅動室;所述伸縮驅動室遠離上機械室一側設置伸縮桿;所述伸縮桿穿入伸縮驅動室與...
-
水葫蘆打撈及處理工藝 2018-01-24 [公司動態] 熱度:486

本發明提供了水葫蘆打撈及處理工藝,利用水葫蘆打撈船從水面收集水葫蘆,存放于水葫蘆打撈船的收集倉,用水葫蘆提升輸送裝置將收集倉內的水葫蘆提升至水葫蘆提升輸送裝置較高的一端,并落入網兜內,然后把裝滿水葫蘆...
-
電滲析法回用高鹽廢水裝置 2018-01-24 [公司動態] 熱度:614

本實用新型涉及一種電滲析法回用高鹽廢水裝置,包括高鹽水水池,高鹽水水池通過第一管路連接淡水箱,高鹽水水池通過管路連接精密過濾器A,精密過濾器A通過第三管路連接精密過濾器B,精密過濾器B通過管路連接濃水箱;...
-
磷化廢水處理工藝 2018-01-24 [公司動態] 熱度:279

一、磷化廢水的主要特征: 磷化廢水中除含有大量的磷酸鹽、鋅離子、酸堿物質及有機物外,根據生產工藝不同,有時還含有一定量的鎳離子、銅離子或鉛離子等重金屬和表面活性劑等污染物,成分復雜,處理難度較大。目前,...
-
高濃度鄰苯二甲酸二甲酯廢水如何處理 2018-01-24 [公司動態] 熱度:427

摘要:Cu2+可以與H2O2發生類Fenton反應,用Fenton法處理同時含有難降解有機物和Cu2+的工業廢水時,Cu2+對于Fenton氧化難降解有機物的反應具有促進作用。本實驗在高濃度鄰苯二甲酸二甲酯(DMP)和Cu2+組成的模擬工業廢...
-
污水檢測 2018-01-24 [公司動態] 熱度:555

水質監測就是水體質量檢測。而水體不僅包括水,而且還包括水中共存的懸浮物、底質和水生生物等。因此,水質監測及評價應該包括水相(水、水溶液)、固相(懸浮物、底質)和生物相,才能得出全面、正確的結論。 一、 水質...
-
污水智能監測系統 2018-01-24 [公司動態] 熱度:360

本發明提供了一種污水智能監測系統,包括無線傳感器網絡污水監測模塊、通信模塊和污水監測中心;所述的無線傳感器網絡污水監測模塊用于基于無線傳感器網絡采集污水參數,并將污水參數通過通信模塊傳送至污水監測中心...
-
2018-01-23 [技術新聞] 熱度:281

連江縣琯頭鎮粗蘆島污水處理廠于2016年建設,福建連江縣琯頭鎮粗蘆島污水處理廠采用較為先進的污水處理工藝好氧生物處理, 其設計規模為2萬立方米/日, 先期日處理規模達到1萬立方米/日,項目投資近3883.9萬元,連江...
-
中小河道清淤及淤泥處理技術 2018-01-23 [技術新聞] 熱度:290

我國中小河道淤積現象比較普遍,河道原有的調蓄洪水和防災減災的能力有所減弱。近幾年國家加強了中小河道和農村河道的治理力度,其中清淤工程作為主要措施被廣泛實施。以江蘇省為例,在20032014 年期間,已投資超過4...
- 首頁
- 上一頁
- 544
- 545
- 546
- 547
- 548
- 549
- 550
- 551
- 552
- 553
- 554
- 下一頁
- 末頁
- 共 656頁9831條
服務地區:北京;天津;上海;重慶;河北;河南;云南;遼寧;黑龍江;湖南;安徽;山東;江蘇;浙江;江西;湖北;廣西;甘肅;山西;陜西;吉林;福建;貴州;廣東;青海;四川;寧夏;海南
服務地區:哈爾濱;長春;沈陽;南京;濟南;合肥;石家莊;鄭州;武漢;長沙;南昌;西安;太原;成都;西寧;海口;廣州;貴陽;杭州;福州;臺北;蘭州;昆明;銀川;烏魯木齊;拉薩;南寧
補充分類:電廠;工業;游泳池;系統;工程;工程師;藥劑;過濾器;絮凝劑;公司;廠家;生產廠家;