廣大用戶朋友想了解游泳池循環水處理這方面的知識,中天恒遠小編李德馨認真總結整理了相關的知識,詳細地為您做介紹,希望對您有所啟發。

一,游泳池循環水處理簡介
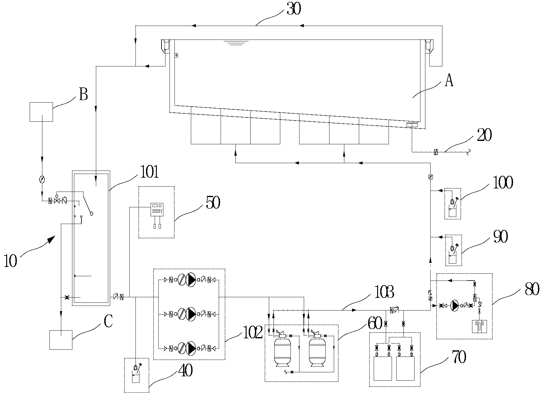
游泳池循環水處理系統,包括與游泳池進水口連接的供水系統、與游泳池出水口連接的排水系統以及與游泳池溢流口連接的溢流系統;所述供水系統包括與游泳池進行水源交換的均衡水箱和使水源交換得以進行的循環水泵裝置以及將均衡水箱、循環水泵裝置和游泳池進水口依次連接的供水管道;所述溢流系統由溢流排水管組成,該溢流排水管的一端連接游泳池溢流口,溢流排水管的另一端連接均衡水箱。本實用新型的游泳池循環水處理系統經過一系列的凈化處理過程,保證水質安全衛生,同時降低游泳池換水次數,具有節能、節水的特點。

1.一種游泳池循環水處理系統,其特征在于,包括與游泳池進 水口連接的供水系統、與游泳池出水口連接的排水系統以及與游泳池 溢流口連接的溢流系統;所述供水系統包括與游泳池進行水源交換的 均衡水箱和使水源交換得以進行的循環水泵裝置以及將均衡水箱、循 環水泵裝置和游泳池進水口依次連接的供水管道;所述溢流系統由溢 流排水管組成,該溢流排水管的一端連接游泳池溢流口,溢流排水管 的另一端連接均衡水箱。
2.根據權利要求1所述的游泳池循環水處理系統,其特征在于, 該游泳池循環水處理系統還包括裝設在均衡水箱與循環水泵裝置之 間的供水管道上的絮凝劑投藥裝置。
3.根據權利要求1所述的游泳池循環水處理系統,其特征在于, 該游泳池循環水處理系統還包括裝設在均衡水箱與循環水泵裝置之 間的供水管道上的水質檢測儀。
4.根據權利要求1所述的游泳池循環水處理系統,其特征在于, 該游泳池循環水處理系統還包括裝設在循環水泵裝置與游泳池進水 口之間的供水管道上的過濾裝置,該過濾裝置由兩個過濾砂缸組成, 兩個過濾砂缸并聯連接在供水管道上。
5.根據權利要求4所述的游泳池循環水處理系統,其特征在于, 該游泳池循環水處理系統還包括裝設在過濾裝置與游泳池進水口之 間的供水管道上的加熱裝置,該加熱裝置由兩組熱水機組組成,兩組 熱水機組并聯連接在供水管道上。
6.根據權利要求4所述的游泳池循環水處理系統,其特征在于, 該游泳池循環水處理系統還包括裝設在過濾裝置與游泳池進水口之 間的供水管道上的臭氧消毒裝置。
7.根據權利要求4所述的游泳池循環水處理系統,其特征在于, 該游泳池循環水處理系統還包括裝設在過濾裝置與游泳池進水口之 間的供水管道上的消毒劑投藥裝置。
8.根據權利要求4所述的游泳池循環水處理系統,其特征在于, 該游泳池循環水處理系統還包括裝設在過濾裝置與游泳池進水口之 間的供水管道上的PH調節裝置。
9.根據權利要求1-8任一項所述的游泳池循環水處理系統,其 特征在于,所述均衡水箱內裝設有數個用于檢測停泵報警水位的液位 計。
10.根據權利要求1-8任一項所述的游泳池循環水處理系統,其 特征在于,所述循環水泵裝置由三組并聯連接在供水管道上的循環水 泵組成。
二,游泳池循環水處理背景技術
游泳池作為如今公眾娛樂的重要場所,其水質的安全涉及到公眾 的人身安全。而游泳池水質的現狀令人堪憂,大量的肉眼可見物,以 及強烈的消毒刺激性味道,令公眾的身心愉悅大大降低。
三,游泳池循環水處理技術領域
本實用新型涉及游泳池水處理領域,更具體地說,涉及一種節能、 提供優質水源的游泳池循環水處理系統。
好了,關于游泳池循環水處理就介紹到這里了,閱讀本文對您有所幫助吧。如果您想要了解更多的相關內容,請持續關注我們的網站;如果需要咨詢產品方案及產品報價,請撥打我們的熱線電話或者咨詢網站在線客服人員。





